产品介绍 Overview
用于精确测量孔深和台阶高度;
任意位置清零,便于相对测量与绝对测量转换:
任意位置公制与英制转换;
技术参数 Specifications

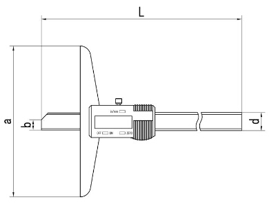
产品尺寸 Dimensions




鼠标按住图片可看放大效果