产品介绍 Overview
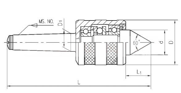
顶尖为车床选配附件,用于定心并承受工件的重力和切削力。作为定位基准广泛应用于一些需要精确重复定位场所,并有效提高装夹刚度,减少在加工过程中的震动。
顶尖有两种:旋转式顶尖(活顶尖);整体式顶尖(死顶尖)。活顶尖内部装有轴承,定位精度略差,但旋转时不容易发热。死顶尖是一个整体,但定位精度高,顶尖部分容易由于旋转摩擦生热。
技术参数 Specifications




鼠标按住图片可看放大效果